The NSIP984x devices are quad-channel digital isolators with integrated isolated DC-DC converter. The isolated DC-DC converter provides up to 500mW output power using on chip transformer. The feedback PWM signal is sent to primary side by a digital isolator based on Novosense capacity isolation technology. The high integrated solution can help to simplify system design and improve reliability. The NSIP984x devices are safety certified by UL1577 support 5.0kVrms withstand voltage while providing high electromagnetic immunity and low emissions. The data rate of the NSIP984x is up to 150Mbps, and the common-mode transient immunity (CMTI) is up to 100kV/us. The NSIP984x devices provide 5V to 5V, 5V to 3.3V, 3.3V to 3.3V conversion mode, the output voltage can be set by SEL pin.
Product Features
• Emission optimized to meet CISPR 32 and EN 55032 Class B with >5 dB margin on 2 layers board
• Up to 5000Vrms Insulation voltage
• Power supply voltage: VDD: 3V to 5.25V VDDL: 1.8V to 5.5V
• 5V to 5V, 5V to 3.3V, support 100mA load current
• 3.3V to 3.3V, support 60mA load current
• Over current and over temperature protection
• Date rate: DC to 150Mbps
• High CMTI: 100kV/us Typ
• High system level EMC performance: Enhanced system level ESD, EFT, Surge immunity
• Operation temperature: -40℃~125℃
• RoHS-compliant packages: SOW16, SOWW16
Safety Certificate
• UL recognition: up to 5000Vrms for 1 minute per UL1577
• CQC certification per GB4943.1
• CSA component notice 5A
• DIN VDE V 0884-17
Application
• Solar Inverter & Energy Storage
• EV Charging Piles
• Grid Infrastructure & Smart Meter
• Heat Pump
• Medical & Measurement
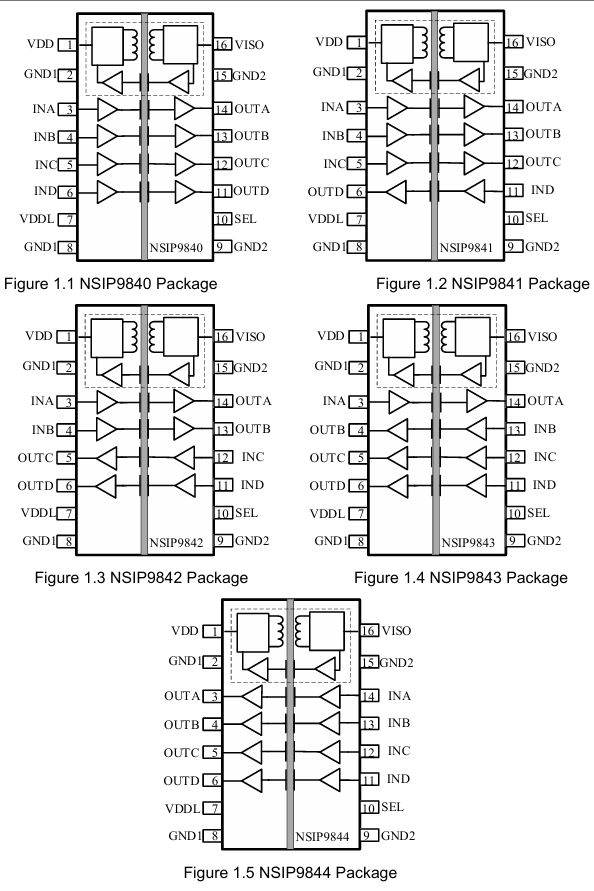
Functional Block Diagram


For more product information, please contact us.